
Наверняка вы уже видели индикаторы – «восьмёрки». Это и есть семисегментный светодиодный индикатор, который служит для отображения цифр от 0 до 9, а также децимальной точки (DP – Decimal point) или запятой.
Конструктивно такое изделие представляет собой сборку светодиодов. Каждый светодиод сборки засвечивает свой знакосегмент.
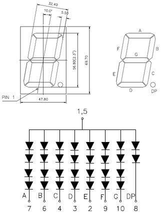
В зависимости от модели сборка может состоять из 1 – 4 семисегментных групп. Например, индикатор АЛС333Б1 состоит из одной семисегментной группы, которая способна отображать всего лишь одну цифру от 0 до 9.
А вот светодиодный индикатор KEM-5162AS уже имеет две семисегментных группы. Он является двухразрядным. Далее на фото показаны разные светодиодные семисегментные индикаторы.

Также существуют индикаторы с 4-мя семисегментными группами – четырёхразрядные (на фото – FYQ-5641BSR-11). Их можно использовать в самодельных электронных часах.

Как обозначаются семисегментные индикаторы на схемах?
Так как семисегментный индикатор – это комбинированный электронный прибор, то изображение его на схемах мало отличается от его внешнего вида.

Стоит только обратить внимание на то, что каждому выводу соответствует конкретный знакосегмент, к которому он подключен. Также имеется один или несколько выводов общего катода или анода – в зависимости от модели прибора.
Особенности семисегментных индикаторов.
Несмотря на кажущуюся простоту этой детали и у неё есть особенности.
Во-первых, светодиодные семисегментные индикаторы бывают с общим анодом и с общим катодом. Данную особенность следует учитывать при его покупке для самодельной конструкции или прибора.
Вот, например, цоколёвка уже знакомого нам 4-ёх разрядного индикатора FYQ-5641BSR-11.

Как видим, аноды у светодиодов каждой цифры объединены и выведены на отдельный вывод. Катоды же у светодиодов, которые принадлежат к знакосегменту (например, G), соединены вместе. От того, какую схему соединений имеет индикатор (с общим анодом или катодом) зависит очень многое. Если взглянуть на принципиальные схемы приборов с применением семисегментных индикаторов, то станет ясно, почему это так важно.
Кроме небольших индикаторов есть большие и даже очень большие. Их можно увидеть в общественных местах, обычно в виде настенных часов, термометров, информеров.
Чтобы увеличить размеры цифр на табло и одновременно сохранить достаточную яркость каждого сегмента, используется несколько светодиодов, включенных последовательно. Вот пример такого индикатора – он умещается на ладони. Это FYS-23011-BUB-21.

Один его сегмент состоит из 4 светодиодов, включенных последовательно.

Чтобы засветить один из сегментов (A, B, C, D, E, F или G), нужно подать на него напряжение в 11,2 вольта (2,8V на каждый светодиод). Можно и меньше, например, 10V, но яркость тоже уменьшится. Исключение составляет децимальная точка (DP), её сегмент состоит из двух светодиодов. Для неё нужно всего 5 — 5,6 вольт.

Также в природе встречаются двухцветные индикаторы. В них встраиваются, например, красные и зелёные светодиоды. Получается, что в корпус встроено как бы два индикатора, но со светодиодами разного цвета свечения. Если подать напряжение на обе цепи светодиодов, то можно получить жёлтый цвет свечения сегментов. Вот схема соединений одного из таких двухцветных индикаторов (SBA-15-11EGWA).

Если коммутировать выводы 1 ( RED ) и 5 ( GREEN ) на «+» питания через ключевые транзисторы, то можно менять цвет свечения отображаемых чисел с красного на зелёный. А если же одновременно подключить выводы 1 и 5, то цвет cвечения будет оранжевым. Вот так можно баловаться с индикаторами
.
Управление семисегментными индикаторами.
Для управления семисегментными индикаторами в цифровых устройствах используют регистры сдвига и дешифраторы. Например, широко распространённый дешифратор для управления индикаторами серии АЛС333 и АЛС324 – микросхема К514ИД2 или К176ИД2. Вот пример.
А для управления современными импортными индикаторами обычно используются регистры сдвига 74HC595. По идее, управлять сегментами табло можно и напрямую с выходов микроконтроллера. Но такую схему используют редко, так как для этого требуется задействовать довольно много выводов самого микроконтроллера. Поэтому для этой цели применяются регистры сдвига. Кроме этого, ток, потребляемый светодиодами знакосегмента, может быть больше, чем ток, который может обеспечить рядовой выход микроконтроллера.
Для управления большими семисегментными индикаторами, такими как, FYS-23011-BUB-21 применяются специализированные драйверы, например, микросхема MBI5026.
Что внутри семисегментного индикатора?
Ну и немного вкусненького. Любой электронщик не был бы таковым, если бы не интересовался «внутренностями» радиодеталей. Вот что внутри индикатора АЛС324Б1.

Чёрные квадратики на основании – это кристаллы светодиодов. Тут же можно разглядеть золотые перемычки, которые соединяют кристалл с одним из выводов. К сожалению, этот индикатор уже работать не будет, так как были оборваны как раз эти самые перемычки
. Но зато мы можем посмотреть, что скрывается за декоративной панелькой табло.
Источник
Системный интегратор

Установка Extension Pack в Oracle VM VirtualBox
Процедура установки пакета дополнений (плагинов Extension Pack) для VirtualBox хорошо описана в фирменной инструкции пользователя Oracle VM VirtualBox ® в разделе 1.5 Installing VirtualBox and extension packs на английском языке.
Базовый пакет VirtualBox содержит все компоненты с открытым кодом и использующие лицензию GNU General Public License V2. Плагины для VirtualBox позволяют расширить функциональные возможности базового пакета.
Скачать плагины Extension Pack для VirtualBox 4.1.14 можно следующей командой
Пакет дополнений (плагины Extension Pack) для других версий VirtualBox или более свежую версию самого пакета можно найти на странице Загрузки на официальном сайте проекта Oracle VM VirtualBox ®
Текущий пакет дополнений расширяет следующие функциональные возможности VirtualBox
- Добавляется поддержка виртуальных USB 2.0 (EHCI) устройств.
- Добавляется поддержка VirtualBox Remote Desktop Protocol (VRDP) — протокол удаленного рабочего стола совместимый с Microsoft RDP
- Добавляется поддержка Intel PXE boot ROM для E1000 сетевых карт.
- Добавляется поддержка Experimental PCI passthrough на Linux хостах.
Для установки пакета дополнений для VirtualBox запустите GUI Oracle VM VirtualBox Менеджер и выберите пункт меню Файл / Настройки . В открывшемся окне выберите раздел Плагины и кликните по желто-голубому ромбику в правой части окна Добавить плагин .

Выберите файл с плагином и установите его.
Замечание , в некоторых случаях приходится добавлять пользователя root в группу vboxusers, запускать VirtualBox Менеджер под root и таким образом устанавливать пакет дополнений:

Установка плагина Extension Pack с правами супер пользователя, если Extension Pack VirtualBox не устанавливается с правами обычного пользователя.
Источник
Как подключить 7-сегментный индикатор к Arduino
- 3-разрядный 7-сегментный индикатор 3361AS или аналогичный;
- двоично-десятичный преобразователь CD4511;
- 7 резисторов по 220 Ом (рекомендую набор резисторов с номиналами от 10 Ом до 1 МОм);
- модуль HW-069;
- Arduino UNO или иная совместимая плата;
- соединительные провода (например, вот такой набор);
- макетная плата;
- персональный компьютер со средой разработки Arduino IDE.
1 Описание сегментного светодиодного индикатора
Индикатор называется 7-сегментным из-за того, что он состоит из семи светодиодов, которые расположены в форме цифры «8». Зажигая определённые сегменты, можно изображать разные цифры. Это похоже на цифры индекса на почтовом конверте: закрашивая определённые участки, мы пишем разные индексы. Зачастую дополнительно к 7-ми сегментам, индикатор содержит десятичную точку. Также индикатор может иметь несколько цифр – разрядов. Обычно от одного до 4-х. Сегменты индикатора обозначаются латинскими буквами от A до G, а DP – это десятичная точка (decimal point).
Обозначение сегментов 7-, 9-, 14- и 16-сегментных индикаторов
К слову, существуют сегментные индикаторы, число сегментов которых отличается от 7-ми. Так, например, существуют 14- и 16-сегментные индикаторы. Кроме цифр от 0 до 9 они также позволяют выводить буквы. Принцип их работы и управления обычно идентичны таковым для 7-сегментных индикаторов.
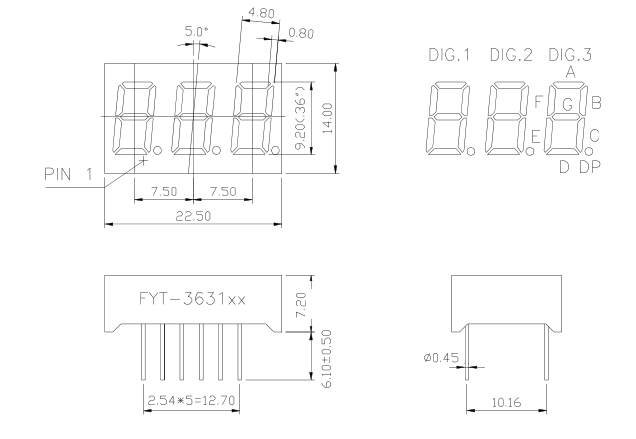
Мы в качестве индикатора будем использовать семисегментный индикатор 3361AS-1. Он построен по принципу индикатора с общим катодом. Это значит, что индикатор состоит из нескольких светодиодов в одном корпусе, у которых общая земля, а питание на каждый светодиод подаётся отдельно.
Как не трудно догадаться, существуют индикаторы с общим анодом. У них всё наоборот: общее питание, а для зажигания отдельного светодиода необходимо подать на него нулевой уровень.
2 Подключение 7-сегментного индикатора непосредственно к Arduino
Мы можем подключить индикатор прямо к выводам Arduino. Для этого придётся задействовать сразу 7 ножек (или 8, если нужна десятичная точка). Обратим внимание, что индикатор 3361AS не имеет токоограничивающих резисторов. Необходимо обеспечить наличие сопротивления номиналом около 180…220 Ом на каждый вывод индикатора (т.к. питание подаём +5 В от Arduino).
Электрическая схема 7-сегментного индикатора 3361AS
Расположение выводов индикатора показано на иллюстрации:
Размеры корпуса и расположение выводов 7-сегментного индикатора 3361AS
Подключать индикатор будем в соответствии с таблицей. Будет выбран первый разряд, остальные два пока не будем трогать.
| Вывод индикатора 3361AS | Назначение | Вывод Arduino |
|---|---|---|
| 1 | Сегмент E | D6 |
| 2 | Сегмент D | D5 |
| 3 | DP | D9 |
| 4 | Сегмент C | D4 |
| 5 | Сегмент G | D8 |
| 7 | Сегмент B | D3 |
| 8 | Выбор 3-го разряда | 5V |
| 9 | Выбор 2-го разряда | 5V |
| 10 | Сегмент F | D7 |
| 11 | Сегмент A | D2 |
| 12 | Выбор 1-го разряда | GND |
Напишем скетч, который последовательно выводит числа от 0 до 9 на первом разряде индикатора.
Скетч управления индикатором 3361AS (разворачивается)
Небольшое пояснение по поводу массива numbers[] в функции printNumber().
Этот массив состоит из 10-ти подмассивов, каждый из которых определяет одну цифру от 0 до 9. В свою очередь подмассивы состоят из 8-ми элементов, которые задают состояния сегментов от A до G и DP. Например, первый подмассив описан как и он отвечает за вывод на индикатор нуля. Это означает, что сегменты A,B,C,D,E,F должны гореть, а сегменты G и DP – нет.
В результате получаем примерно следующее:
Управление 7-сегментным индикатором с помощью Arduino Nano
Это самый простой способ управления сегментным индикатором, но, как мы видим, он задействует почти все цифровые ножки Arduino. Особенно если мы решим использовать все разряды индикатора. Тогда кроме ножек для управления сегментами придётся дополнительно использовать столько выводов, сколько разрядов у индикатора. Получится, что для управления 7-сегментным индикатором с 3-мя разрядами необходимо 11 ножек (7 сегментов + 1 десятичная точка + 3 ножки для выбора разряда). Это расточительно, и не всегда можно такое себе позволить.
3 Драйвер для управления 7-сегментным индикатором
Чтобы сократить число задействованных выводов микроконтроллера обычно на практике используются различные решения. Например, популярным способом управления 7-сегментным индикатором является применение микросхемы CD4511 – двоично-десятичного преобразователя. Он переводит двоичный код числа в напряжение на соответствующих цифре сегментах индикатора. Такой преобразователь будет использовать всего 4 ножки Arduino. То есть, например, если необходимо отобразить на индикаторе десятичное число 7, необходимо выставить на входе преобразователя двоичное 0111 («LOW HIGH HIGH HIGH»). Микросхема CD4511 выполняется в разных типах корпусов. Назначение выводов в исполнении с 16-тью ножками, такое:
Выводы двоично-десятичного преобразователя CD4511
Отечественными аналогами данного преобразователя являются микросхемы серий ИД1…ИД7. Кстати, отечественные преобразователи изображают цифры «6» и «9», используя 6 сегментов, а зарубежные CD4511 – только 5 сегментов.
Разница в выводе цифр CD4511 и ИД7
4 Управление 7-сегментным индикатором с помощью драйвера CD4511 и Arduino
При подключении двоичного декодера будем руководствоваться следующей таблицей:
| Вывод CD4511 | Назначение | Примечание |
|---|---|---|
| A0. A3 | Входы двоичного преобразователя | Соответствуют разрядам двоичного числа. |
| a. g | Выходы на сегменты индикатора | Подключаются через токоограничивающие резисторы к соответствующим сегментам светодиодного индикатора. |
| Lamp Test# | Тест индикатора (включает все сегменты) | Подключим к питанию, не использовать его. |
| Blanking# | Очистка индикатора (отключает все сегменты) | Подключим к питанию, чтобы не использовать его. |
| Latch Enabled# | Выход активен | Будет подключен к земле, чтобы выход был всегда активен. |
| VDD | Питание микросхемы и индикатора | От 3 до 15 В. |
| GND | Земля | Общая у CD4511, Arduino, 7-сегментного индикатора. |
Желательно также подключить керамический конденсатор ёмкостью примерно 1 мкФ между землёй и питанием микросхемы CD4511.
Подключение 7-сегментного индикатора к Arduino с двоичным декодером CD4511B
Теперь напишем простой скетч, чтобы проверить работоспособность 7-сегментного индикатора 3361AS-1 в связке с двоично-десятичным декодером, а также получить опыт работы с ними. Данный скетч будет поочерёдно перебирать числа от 0 до 9, перемещаясь по циклу от одного разряда индикатора к следующему.
Скетч для управления 7-сегментным индикатором (светится 1 разряд) (разворачивается)
Загрузим скетч в Arduino и посмотрим результат.
В один момент времени светится только один разряд индикатора. Как же задействовать одновременно сразу три разряда индикатора? Это будет немного сложнее. Сложность заключается в том, что нам одновременно нужно управлять тремя разрядами десятичного число, используя только один преобразователь CD4511. Но чисто физически это невозможно. Однако можно добиться иллюзии постоянного свечения всех разрядов светодиодного индикатора. Для этого придётся быстро переключаться между разрядами, постоянно обновляя показание каждого разряда. Мы будем поочерёдно активировать каждый из разрядов индикатора 3361AS, выставлять на нём с помощью двоичного преобразователя CD4511 нужную цифру, а затем переключаться на следующий разряд.
Для человеческого глаза такое переключение между разрядами будет незаметно, но если результат снять на видео, то его можно увидеть.
Также перепишем функцию setNumber() отправки двоичного кода на вход микросхемы преобразователя CD4511. Вместо использования оператора switch, используем массив массивов.
Скетч для управления трёхразрядным 7-сегментным индикатором (разворачивается)
Получится вот такая картина.
Управление трёхразрядным семисегментным индикатором с помощью преобразователя CD4511 и Arduino
В динамике это выглядит так. Тут как раз временами видны мерцания сегментов светодиодного индикатора.
Можно попробовать поиграть значением задержек в функции setDigit(). Если сделать задержки меньше, то мерцание станет меньше заметно. Но начнут сильнее засвечиваться соседние сегменты на выбранном разряде индикатора. Тут необходимо выбрать какое-то компромиссное решение.
5 Управление 7-сегментным индикатором с помощью драйвера TM1637 и Arduino
Существуют и другие драйверы для подключения 7-сегментных дисплеев. Один из них – TM1637. Есть готовые модули, в которых уже присутствует и индикатор, и драйвер, и вся необходимая «обвязка» (резисторы, конденсаторы). Пример – модуль HW-069. В качестве семисегментного индикатора здесь 4-разрядный индикатор 3642BS-1.
Модуль HW-069 с драйвером TM1637 и четырёхразрядным семисегментным индикатором
Подключение модуля к Arduino предельно простое, т.к. для обмена с драйвером используется интерфейс, очень похожий на I2C. Т.е. необходимо подключить питание от 5 В Arduino, а данные передаются по DIO и тактируются по CLK. Но тем не менее, интерфейс не эквивалентен полностью I2C, т.к. у дисплея нет своего адреса.
Модуль HW-069 с драйвером TM1637 и четырёхразрядным семисегментным индикатором
Как всегда, есть множество готовых библиотек для управления индикатором через драйвер TM1637. Например, библиотека Gyver TM1637 или библиотека Avishay TM1637.
Модуль с драйвером TM1637 работает с Arduino UNO
Эти библиотеки работают прекрасно, и рассказывать, как загружать и устанавливать библиотеку для Arduino не буду: мы это делали уже миллион раз. Мы же не ищем лёгких путей, поэтому попробуем разобраться в работе драйвера TM1637 самостоятельно, верно?
Источник
