Этот мастер-класс буден немного противоречив и вызовет не одно разрозненное мнение. Я хочу поделиться тем, как сделать из трансформатора микроволной печи мощный выпрямитель — блок питания, на необходимое мне напряжение.
Очень часто микроволновки выходят из строя и выбрасываются на помойку. У меня сломалась недавно ещё одна и я решил дать вторую жизнь её трансформатору.
Трансформатор там повышающий и обычно преобразует 220 В в высокое напряжение 2000-2500 В, необходимое для возбуждения магнетрона.
Я видел как много людей переделывают данные трансформаторы либо под аппарат для контактной сварки, либо аппарат для дуговой сварки. Но никогда не видел чтобы из него делали мощные блоки питания.
Ведь трансформатор очень мощный, порядка 900 Вт, а это не мало. Вообщем я покажу вам как перемотать трансформатор под необходимое для вас напряжение.
Разбираем трансформатор от микроволновой печи

Обычно трансформатор микроволновки содержит три обмотки. Самая многочисленная, намотанная самым тонким проводом — это повышающая, вторичная, на выходе у которой 2000-2500 В. Она нам не нужна, мы ее удалим. Вторая обмотка, более толстая, с меньшим количеством проволоки по сравнению с вторичкой — это сетевая обмотка на 220 В. Ещё, между этими двумя массивными обмотками, есть самая маленькая, которая состоит из нескольких витков провода. Это низковольтовая обмотка примерно на 6-15 В, выдающее напряжение на накал магнетрона.
Срезаем швы магнитопровода

Необходимо спилить швы, удерживающие между собой «Ш»-образные пластины и «I»-образные. Швы китайского производителя на так крепки как кажутся. Спилить их можно болгаркой или вообще расколоть зубилом с молоткам. Я использовал болгарку, это гуманный способ.
Снимаем катушки


Снимаем все катушки. Если они очень крепко засели — постучите аккуратно резиновым молотком. Нам пригодиться только обмотка на 220 В, остальные удаляем. Ставим обратно первичную обмотку на 220 В и помещаем её вниз «Ш»-образного сердечника.

Расчет вторичной обмотки
Теперь нам необходимо рассчитать количество витков вторичной обмотки. Для этого нужно узнать коэффициент трансформации. Обычно, в таких трансформаторах он равен единице, следовательно один виток провода будет выдавать один вольт. Но это не всегда так и нужно это перепроверить.
Берем любой провод и наматываем 10 витков провода на сердечник. Затем собираем сердечник и зажимаем его струбциной, чтобы он не развалился. Обязательно через предохранитель подаем 220 В на первичную обмотку. А в это время замеряем напряжение на выходе 10 -ти витковой обмотки. В теории должно быть 10 В. Если нет, значит коэффициент трансформации не такой как обычно и вам нужно производить расчеты для вычисления напряжения для вашей обмотки. Все это не сложно, математика пятый класс.
У меня имеется в наличии два трансформатора. Один я буду делать на 500 В, другой на 36 В. Вы же можете сделать на любое другое напряжение.
Намотка катушки трансформатора на 500 В
Коэффициент трансформации у моего экземпляра один к одному. И чтобы намотать обмотку на 500 В мне нужно соответственно сделать 500 витков провода на катушке. Берем провод.

Конечно не такой, а смотанный на барабане. Прикидываем силу тока и объем катушки. Из этих значений выбираем диаметр провода.

Вот такое простенькое приспособление я собрал для намотки катушки. Сам сердечник из дерева, боковины из оргстекла. Закрепить его можно на дрель или шуруповерт.

Намотал, собрал, подключил. Замеряю выходное напряжение, почти попал — 513 В, что для меня приемлемо.

Трансформатор на 36 В
Обмотку на 36 В можно намотать и вручную, взяв соответствующий провод. Чтобы одеть и распрямить обмотку на сердечнике можно использовать такие клинья, смотрите фото.

После того как обмотка вся натянется, в образовавшиеся отверстия, после снятия клиньев положите плотно спрессованную бумагу. Это мой примитивный способ. Обмотку потом рекомендую пропитать эпоксидкой, иначе будет сильно гудеть.
Работа над ошибками
Я перемотал обмотку, чтобы сделать её более плотной и мощной. Для этого я намотал её двойным проводом, вместо одного толстого. В конце я их соединю.

После того как все обмотки закреплены, пришло время собрать сердечник трансформатора. Для этого закрепляем всю конструкцию струбциной и свариваем дуговой сваркой те же места что и были раньше. Делать толстый шов не нужно, все должно выглядеть как и было.

Я буду нагружать выпрямитель на 20 А, естественно диодный мост нужно установить на радиатор.
Так же, если вы будете использовать металлический корпус как и я, то не забудьте его заземлить.
О безопасности
Будьте осторожный при подключении трансформатора, никогда не торопитесь и все дважды проверяйте. Подключайте трансформатор только через предохранитель, чтобы избежать возможного замыкания цепи. Не дотрагивайтесь до токоведущих частей во время работы трансформатора.
Также при обработке металла обязательно будьте внимательны и используйте средства защиты органов зрения.
Помните, что все действия вы делаете на свой страх и риск!
Источник
Как проверить трансформатор в микроволновке
Трансформатор для микроволновки — важное звено цепи, генерирующей СВЧ-излучение. Это преобразователь напряжения электросети до величины, подаваемой на вход магнетрона. Высоковольтный преобразователь нередко становится причиной поломки микроволновой печи.
Проверка трансформатора на работоспособность — обязательный пункт в перечне мероприятий по технической диагностике для выяснения причин неисправности. Так как речь идет о высоких напряжениях, самостоятельное вмешательство возможно лишь при соблюдении всех мер безопасности.
Где взять высокое напряжение?
Пища в СВЧ-печках греется за счет работы сверхвысокочастотных волн. Генерирует микроволны специальный излучатель — магнетрон. Чтобы работать в заданных характеристиках, ему необходимо высокое напряжение — 2 000 В. Это почти на порядок выше того, что дает бытовая электросеть (220 В).
Откуда же берутся киловольты? Они создаются на выходе вторичной обмотки высоковольтного преобразователя.

Важно! СВЧ-печка, даже отключенная от электросети, может ударить электротоком (U до 5 000 В).
Виды высоковольтных преобразователей
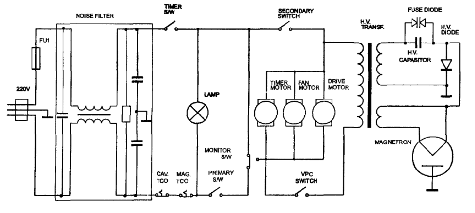
Элементы преобразователя, установленного в СВЧ-печке:
- магнитопровод;
- каркас;
- первичная обмотка;
- две вторичные обмотки.
На первичную обмотку поступает U = 220 V. От вторичных питается накальная нить. Первая из двух вторичных обмоток изготовлена из провода большого сечения. U на выходе — приблизительно 3 В. На выходе второй обмотки — переменное высокое U = 4 кВ.

В микроволновках разных марок использованы преобразующие устройства различного производства. Преобразователи выглядят не одинаково и имеют разные характеристики. Они отличаются:
- мощностью;
- выходным напряжением вторичных обмоток;
- числом витков в катушках и сечением провода;
- габаритами;
- способом закрепления.
Вторичную катушку, подобно одному из выводов излучателя, замыкают на корпус.

Схема электрической цепи
В электросхеме СВЧ-печи, помимо преобразователя, присутствуют:
- диод;
- высоковольтный конденсатор;
- магнетрон;
- предохранитель;
- электродвигатель — один или два (для вращения поддона, если он предусмотрен конструкцией, и для вентилятора);
- блок управления.
В дорогих СВЧ-печках вместо преобразователя используют импульсный блок, который имеет более сложное устройство, но весит меньше.

Какие бывают неисправности?
Проверить трансформатор нужно в двух случаях: когда печка плохо работает и когда вовсе не работает. Заподозрить неисправность именно этого элемента можно по следующим признакам:
- микроволновая печь непривычно громко шумит;
- еда, помещенная в камеру, не подогревается или греется незначительно;
- при работе пахнет горелой изоляцией, техника дымит.
Если появится хотя бы один из перечисленных симптомов, устройство лучше не включать — до устранения неполадки. Включение неисправной печки может привести к усугублению поломки.
Одна из самых распространенных причин выхода из строя электрооборудования — скачки в электросети. Если есть подозрение, что аппарат неисправен из-за перепадов в сети, необходим срочный ремонт. Впрочем, не исключено, что во время ремонтных работ обнаружится заводской брак.

Причины неисправностей
Преобразователь выходит из строя чаще всего из-за:
- Обрыва провода. Может оборваться провод одной из обмоток.
- Короткого замыкания в обмотках. Это может произойти в одной катушке или в обеих.
- Обрыва либо замыкания в катушке магнетрона.
Магнитопровод преобразователя собран из стальных пластинок. Если пластины отслаиваются, аппарат будет шуметь. Необходимо узнать мощность трансформатора и заменить его. Такие глобальные поломки можно без труда определить на глаз, но случаются они не часто. Подавляющее число проблем все-таки спровоцированы катушками.

Порядок проверки
Чтобы проверить исправность высоковольтного преобразователя, нужно вооружиться мультиметром, также понадобятся:
- отвертками с разными наконечниками;
- плоскогубцы;
- омметр.
- выключить аппарат — достать вилку из розетки;
- открутить винты и снять кожух;
- разрядить конденсатор;
- снять клеммы с трансформатора;
- проверить тестером катушки — если отклонений нет, ставят назад;
- если обнаружено повреждение — оборвался провод или произошло замыкание, меняют устройство;
- собрать печь и проверить ее функционирование.
Если прибор после предпринятых мероприятий по-прежнему не работает, следует продолжить поиск неисправностей или проверить устройство под напряжением.
Трансформатор со следами оплавленной изоляции и издающий запах гари не нуждается в дальнейшей проверке: он сломан и не подлежит ремонту.
Важно! Чтобы проверить трансформатор, приходится разобрать СВЧ-печь — делать это можно только при отключении ее от электросети.
Высоковольтный конденсатор запросто сохраняет огромный электрозаряд, поэтому перед измерениями его необходимо разрядить. Как этого добиться? Просто замкнуть его контакты друг с другом — это можно сделать, например, пассатижами.

Варианты диагностики
Рассмотрим распространенные варианты поиска причин поломки.
Безопасная проверка
Наиболее безопасное исследование проводится тестером и заключается в исследовании катушек на предмет повреждений. Порядок действий:
- Мультиметр настраивают на нужные пределы и определяют с его помощью сопротивление всех обмоток — первичной и двух вторичных. Исследование делают на снятом трансформаторе.
- Если на тестере высвечивается единица, значит произошел обрыв.
- При замкнутой цепи на первичной катушке появится значение в диапазоне 2–4,5 Ом (тестер выставлен на 200 Ом). На накальной — 3,5–8 Ом, на высоковольтной вторичной (2 000 Ом) — 140–350 Ом.
Если значение сопротивления выходит за рамки указанных диапазонов, вероятно, произошло межвитковое замыкание.
При замерах необходимо учесть собственную погрешность мультиметра. Определить ее можно, замкнув щупы накоротко в установленном пределе. Полученное значение — погрешность.
Безопасную проверку можно выполнить самостоятельно или пригласить специалиста из сервиса. Чтобы прозвонить обмотки, пользователю достаточно знать азы электротехники и иметь навыки работы с тестером.

Проверка под напряжением
Если измерения проведены, полученные замеры соответствуют норме, но печка по-прежнему не работает, необходимо исследовать ряд характеристик. Измерение выходного напряжения на вторичных обмотках — достаточно опасное дело. Порядок действий:
- К микроволновке подается 220 В.
- Тестером замеряют U на выходах обеих вторичных обмоток. Высоковольтная — 2 кВ, накальная — 3 В.
Для этого метода необходимо оснащение, которое может измерить переменное напряжение более 2 кВ.
Обратная проверка
Этот вариант менее проблематичен. К вторичной обмотке подводят 220 В, с первичной снимают около 24 В. Коэффициент — 9,1. Если на первичную обмотку подать 12 В, на вторичной будет около 109 В.
Если при холостом ходе трансформатор нагревается, вероятно, произошло межвитковое замыкание. Если же устройство греется под нагрузкой, а при ее выключении перестает греться, следует продолжать поиски неполадки.

Как выбрать способ проверки
Вариант исследования преобразователя важно выбирать, опираясь на свою квалификацию, знания и навыки. Безопаснее всего — просто прозвонить цепи на целостность. Если во время измерений подключено 220 В, необходимо соблюдать особые меры предосторожности.
Если нет уверенности в своих знаниях, лучше обратиться к профессионалу.
У каких СВЧ-печек проблемы
Чаще всего проблемы с преобразователем случаются в микроволновых печах марок «Самсунг », LG , Daewoo .
Учитывая именитость брендов, трудно предположить, что все они пренебрегают качеством используемых составляющих электроцепей. Скорее всего, такая тенденция связана с популярностью данных торговых марок. Их больше покупают, потому и статистика поломок выше. Но при расчете числа поломок на количество проданных единиц становится очевидно, что ломаются они ничуть не чаще, чем другие известные брендов.

Меры предосторожности
При проведении измерений под напряжением может произойти поражение электрическим током, вплоть до летального исхода. Избежать опасности помогут два правила:
- Категорически запрещается дотрагиваться до внутренних деталей СВЧ-печки во время ее работы. Чтобы выполнять измерения, необходимо надеть на зажимы тестера щупы-«крокодилы» — ими и подключаться к участкам цепи.
- Если нужно прикоснуться к высоковольтным частям руками, следует не только отключить печку от электросети: предотвратить поражение током можно, замкнув на корпус выводы магнетрона. Благодаря такой предосторожности вы защитите себя от разряда конденсатора. В электрической цепи микроволновки имеется резистор для разряда конденсатора, однако он не исключает опасность на 100%. Резистор может сгореть или его вовсе забыли поставить, а такая ошибка может стоить жизни любителю самостоятельного ремонта.
Ремонт любой электротехники сопряжен с опасностью поражения электротоком. При проверке трансформатора в микроволновке нужно быть особенно осторожным из-за высокого напряжения и конденсатора. Используйте безопасные методы измерений и соблюдайте правила безопасности.
Источник
