The brake coil can be adapted to different connection voltages. It is powered via a brake control which is either placed in the terminal box of the motor or in the control cabinet.
Adapted to your application
Usually, the brake is controlled by a brake control that is installed in either the motor terminal box or the control cabinet. You can choose from a wide range of brake controls. In addition to various connection voltages, brake controls for specific application requirements are available as well:
- With acceleration function for high switching frequency (by using the patented twocoil system, e.g. BGE../BME../BSG..)
- With rapid switch-off function for high stopping accuracy (with integrated or additional high-speed relays, e.g. BMP../BSR../BUR..)
- With integrated heating function (BMH..)
- With additional DC 24 V control inputs for PLC or inverter (e.g. BMK.. or BMV..)
- As safety-related component for functionally safe interruption of the energy supply to the brake (BST..)
Brakes up to BE2 can also be delivered for operation at an external DC voltage source without additional brake control, if requested by the customer.
Particularly short response times at switch-on
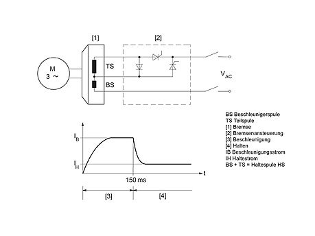
BE.. brakes are equipped with the two-coil system patented by SEW‑EURODRIVE. When using special brake control systems from SEW‑EURODRIVE with acceleration function, the brake control ensures that only the accelerator coil is switched on first, followed by the holding coil (entire coil). The powerful impulse magnetization (high acceleration current) of the accelerator coil results in a very short response time, particularly in large brakes, without reaching the saturation limit. The brake lining carrier moves clear very swiftly and the motor starts up with hardly any braking losses.
Wiring diagram and diagrams


Particularly short response time at switch-off
The response time for the application of the brake also depends on how rapidly the energy stored in the brake coil is dissipated when the power supply is switched off. A free-wheeling diode is used to dissipate the energy for a “cut-off in the AC circuit”. The current decreases at an exponential rate. The current dissipates much more rapidly via a varistor when the DC and AC circuits are cut-off at the same time as the coil’s DC circuit. The response time is considerably reduced. Conventionally, cut-off in the DC and AC circuits is implemented using an additional contact on the brake contactor (suitable for an inductive load). Under certain conditions, you can use the SR.E electronic current relays or UR.E voltage relays for interrupting the DC circuit, see the following section.
Источник
