Автор: Сергей · Опубликовано 30.09.2016 · Обновлено 13.04.2020

Одна из самых полезных вещей, которую можно сделать на Arduino — это устройство, управляющие высоким напряжением, 240В (вентиляторы, лампы, обогреватели и другие бытовые приборы). Поскольку Arduino работает с низким напряжение, он не может управлять устройствами с высоким напряжением, но можно воспользоватся модулем реле на 5В и с помощью его осуществлять включение и отключение.
Технические параметры
Общие сведения
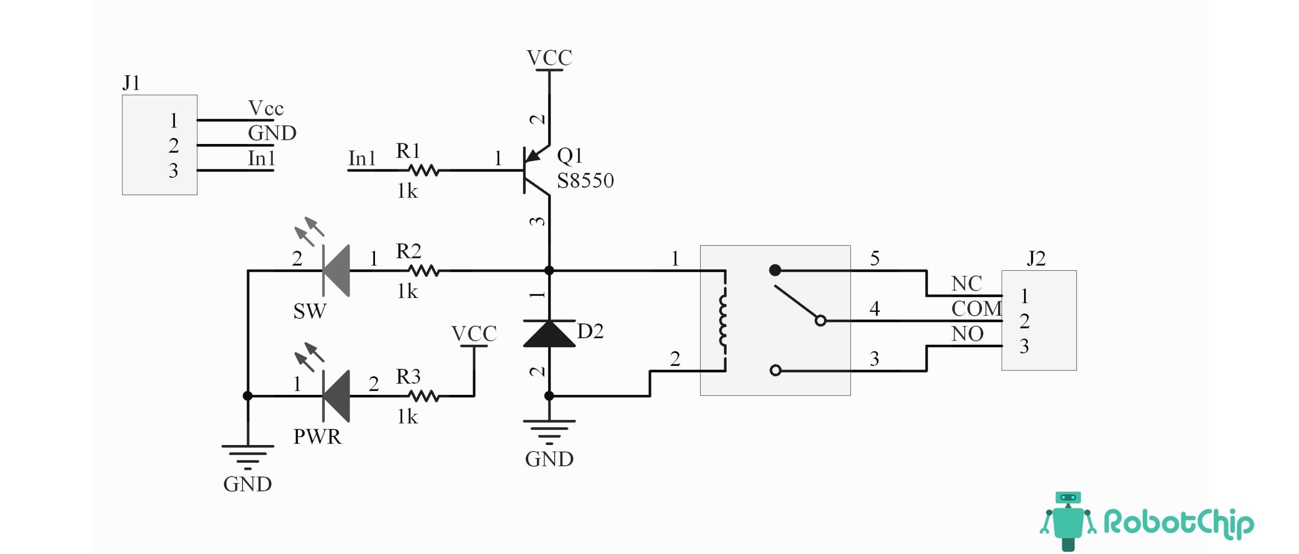
На модуле расположено одно реле фирмы SONGLE модель SRD-05VDC-SL-C или SRD-05VDC-SL-C (в 12В исполнении). Для быстрого подключения модуля реле, предусмотрены две группы контактов, первая группа «слаботочная» шаг 2,54 мм, вторая группа силовая, назначение каждого контакта можно посмотреть на рисунке ниже.

На задней части платы нарисован схема подключения нагрузки и указана модель реле, в моем случаи Low Level Trigger (переключение при «0»), так-же существует High Level Trigger (переключение при «1»), далее буду рассказывать о Low Level Trigger в 5В исполнении. Немного о работе модуля, при подключении к источнику питания 5В (VCC — 5В и GND — земля), загорается красный светодиод, реле остается в неизменном положении. Для переключения реле в другое положение, необходимо вывод IN подключить к земле, это можно осуществить с помощью контроллера Arduino или просто замкнуть IN1 с GND. В данном модуле не реализована гальваническая развязка, вывод IN подключен напрямую к управляющему транзистору, принципиальную схему 1-но кональнного реле, можно посмотреть ниже.

Подключение модуля реле к Arduino
Необходимые детали: ► Arduino UNO R3 ► Провод DuPont, 2,54 мм, 20 см, F-F (Female — Female) ► Кабель USB 2.0 A-B ► Модуль реле 1-о канальный — 5V, 10A, 250V (lOW)
► Лампа 220В и цоколем.
Подключение:
Приобретите необходимые детали для тестирования, схему подключения можно посмотреть на рисунке ниже.
Внимание! Необходимо соблюдать технику безопасности, при подключении 220В, так как возможно поражение током.

Первым делом, подключаем слаботочную часть схемы VCC (вывод реле) к +5V (Arduino), GND (вывод реле) к GND (Arduino) и IN1 (вывод реле) к 5 выводу Arduino. Далее, необходимо подключит лампу накаливания, ее подключаем в разрыв синего провода. Скопируйте и вставьте этот пример кода в окно программы IDE Arduino и загрузите в контроллер.
Источник
Обзор 2-х канального модуля реле
Автор: Сергей · Опубликовано 28.12.2016 · Обновлено 27.09.2019

Сегодня расскажу о двух канальном модуле реле с оптической развязкой, который содержит два электромеханических реле, максимальным током до 10А (в реальности не выдерживают столько), а переключение осуществляется с помощью напряжения 5В.
Технические параметры
► Напряжение питания: 5 В► Потребляемый ток: 30 мА … 40 мА► Сигнал включение: 0 В (низкий уровень)► Оптическая изоляция: есть► Количество реле: 2 шт.► Тип реле: электромеханическое► Коминальный ток нагрузки: 10 А► Коммутируемое напряжение: 250VAC, 30VDC
► Габариты: 50.5мм x 32.5мм x 17м
Общие сведения
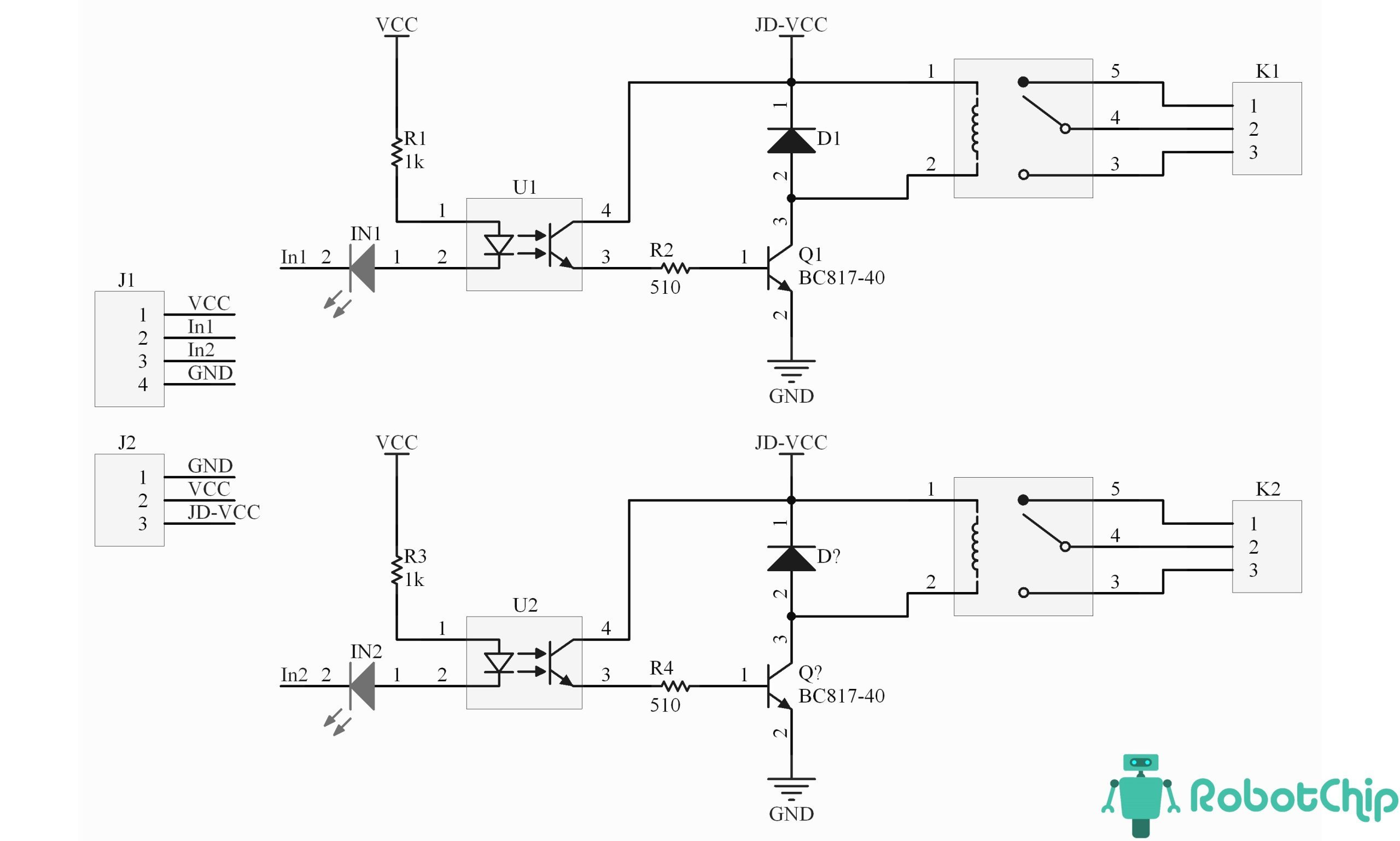
Данный модуль содержит два канала реле фирмы SONGLE модель SRD-05VDC-SL-C, переключение осуществляется с помощью напряжение 5В. Схематически модуль специально разработан для управления с помощью слаботочных плат, таких как arduino, raspberry и так далее, которые на выходе могут выдать ток не более 40 мА, так же для защиты добавлен оптопара EL817, которая реализует гальваническую развязку. Принципиальная схема 2-х канального модуля реле показана на рисунке ниже.

Двухкональный релейный модуль состоит из двух независимых частей за исключении питания Vcc и GND. При подключении к напряжения, вывод In1 находиться в высоком состоянии (лог 1), для переключения первого реле необходимо вывод In1 перевести в отрицательное состояние (лог 0), то есть закоротить цепь на землю. Через светодиод, которые находится в оптопаре начнет протекать ток и он засветится, следом откроет фототранзистор, через который так же начнет течь ток на базу транзистора Q1, который откроется и реле сработает. Вторая часть реле, работает аналогично, модуль может работать и от отдельного источника питания, необходимо убрать перемычку и подключить питание к JD-VCC и GND.
Назначение контактов
Модуль содержит четыре разъема, два слаботочных J1, J1 и два силовых K1 и K2, назначение каждого разъема и вывода можно посмотреть на рисунке ниже.

Разъем J1 используется для управления реле, шаг контактов 2,54 мм (PLS), разъем J2 используется для подключения внешнего источника питания, по умолчанию, между контактми JD-VCC и VCC установлена перемычка.
Габаритные размеры
На модуле предусмотрено четыре отверстия для установки, диаметр каждого 4 мм, габариты можно посмотреть на рисунке ниже.

Подключение 2-х канального реле к Arduino
Необходимые детали:► Arduino UNO R3 x 1 шт.► Провод DuPont x 1 шт.► Кабель USB 2.0 A-B x 1 шт.
► Модуль реле 2-х канальный — 5V, 10A, 250V (lOW, OPTO) x 1 шт.
Подключение:
Для начала подключаем вывод VCC и GND к выводам Arduino 5V и GND. Выводы IN1 и IN2 можно подключить к любому выводу, в нашем случае подключены к цифровым выводам 5 и 6. В качестве примера использую светодиоды, схема подключения приведена на рисунке ниже:

Далее открываем среду разработки и загружаем данный скетч в контроллер Arduino, алгоритм работы прост, каждые 4 секунды будет включатся сначала одно реле, затем второе и так далее.
Источник
Как подключить реле к Arduino
В статье описывается такое электронное устройство как реле, кратко объясняются принципы его работы, а также рассматривается подключение модуля с реле постоянного тока к Arduino на примере управления светодиодами.
Для подключения реле к Arduino нам понадобится:
- Ардуино UNO (или совместимая плата);
- модуль с реле (например, такой);
- 4 резистора по 220 Ом (рекомендую приобрести набор резисторов с номиналами от 10 Ом до 1 МОм);
- 4 светодиода (к примеру, вот из такого набора);
- макетная плата;
- соединительные провода (вот такие);
- персональный компьютер с Arduino IDE или иной средой разработки.
1 Принцип действияи виды реле
Реле – это электромеханическое устройство для замыкания и размыкания электрической цепи. В классическом варианте реле содержит электромагнит, который управляет размыканием или замыканием контактов. Если в нормальном положении контакты реле разомкнуты, а при подаче управляющего напряжения замыкаются, такое реле называется замыкающим. Если в нормальном состоянии контакты реле сомкнуты, а при подаче управляющего напряжения размыкаются, такой тип реле называется размыкающим.
Принцип действия замыкающего реле
Кроме того, существует множество других видов реле: переключающие, одноканальные, многоканальные, реле постоянного или переменного тока, и другие.
2 Схема подключения модуля реле SRD-05VDC-SL-C
Будем использовать модуль с двумя одинаковыми реле типа SRD-05VDC-SL-C или аналогичный.
Модуль имеет 4 разъёма: силовые разъёмы K1 и K2, управляющий разъём и разъём для подачи внешнего питания (с джампером).
Реле типа SRD-05VDC-SL-C имеет три контакта для подключения нагрузки: два крайних неподвижных, а средний – переключающийся. Именно средний контакт является своего рода «ключом», который коммутирует цепи тем или иным образом. На модуле есть подсказка, какой именно контакт реле является нормально замкнутым: маркировка «K1» и «K2» соединяет средний контакт с крайним левым (на фото). Подача управляющего напряжения на вход IN1 или IN2 (слаботочный управляющий разъём) заставит реле скоммутировать средний контакт контактной группы K1 или K2 с правым (силовой разъём). Ток, достаточный для переключения реле – около 20 мА, цифровые выводы Arduino могут выдавать до 40 мА.
Разъёмы модуля реле SRD-05VDC-SL-C
Разъём для подачи внешнего питания используется для того, чтобы обеспечить гальваническую развязку платы Arduino и модуля реле. По умолчанию, на разъёме между штырьками JD-VCC и VCC имеется перемычка. Когда она установлена, модуль использует для питания напряжение, поданное на вывод VCC управляющего разъёма, а плата Arduino не имеет гальванической развязки с модулем. Если нужно обеспечить гальваническую развязку модуля и Arduino, необходимо подавать питание на модуль через разъём внешнего питания. Для этого убирается перемычка, и дополнительное питание подаётся на контакты JD-VCC и GND. При этом питание на вывод VCC управляющего разъёма также подаётся (от +5 В Arduino).
Кстати, реле может коммутировать не только слаботочную нагрузку, как в нашем примере. С помощью реле можно замыкать и размыкать достаточно большие нагрузки. Какие именно – нужно смотреть в техническом описании к конкретному реле. Например, данное реле SRD-05VDC-SL-C может коммутировать сети с током до 10 А и напряжением до 250 В переменного тока или до 30 В постоянного тока. То есть его можно использовать, например, для управления освещением квартиры.
Источник
Как подключить реле к Arduino
В статье описывается такое электронное устройство как реле, кратко объясняются принципы его работы, а также рассматривается подключение модуля с реле постоянного тока к Arduino на примере управления светодиодами.
Для подключения реле к Arduino нам понадобится:
- Ардуино UNO (или совместимая плата);
- модуль с реле (например, такой);
- 4 резистора по 220 Ом (рекомендую приобрести набор резисторов с номиналами от 10 Ом до 1 МОм);
- 4 светодиода (к примеру, вот из такого набора);
- макетная плата;
- соединительные провода (вот такие);
- персональный компьютер с Arduino IDE или иной средой разработки.
1 Принцип действияи виды реле
Реле – это электромеханическое устройство для замыкания и размыкания электрической цепи. В классическом варианте реле содержит электромагнит, который управляет размыканием или замыканием контактов. Если в нормальном положении контакты реле разомкнуты, а при подаче управляющего напряжения замыкаются, такое реле называется замыкающим. Если в нормальном состоянии контакты реле сомкнуты, а при подаче управляющего напряжения размыкаются, такой тип реле называется размыкающим.
Принцип действия замыкающего реле
Кроме того, существует множество других видов реле: переключающие, одноканальные, многоканальные, реле постоянного или переменного тока, и другие.
2 Схема подключения модуля реле SRD-05VDC-SL-C
Будем использовать модуль с двумя одинаковыми реле типа SRD-05VDC-SL-C или аналогичный.
Модуль имеет 4 разъёма: силовые разъёмы K1 и K2, управляющий разъём и разъём для подачи внешнего питания (с джампером).
Реле типа SRD-05VDC-SL-C имеет три контакта для подключения нагрузки: два крайних неподвижных, а средний – переключающийся. Именно средний контакт является своего рода «ключом», который коммутирует цепи тем или иным образом. На модуле есть подсказка, какой именно контакт реле является нормально замкнутым: маркировка «K1» и «K2» соединяет средний контакт с крайним левым (на фото). Подача управляющего напряжения на вход IN1 или IN2 (слаботочный управляющий разъём) заставит реле скоммутировать средний контакт контактной группы K1 или K2 с правым (силовой разъём). Ток, достаточный для переключения реле – около 20 мА, цифровые выводы Arduino могут выдавать до 40 мА.
Разъёмы модуля реле SRD-05VDC-SL-C
Разъём для подачи внешнего питания используется для того, чтобы обеспечить гальваническую развязку платы Arduino и модуля реле. По умолчанию, на разъёме между штырьками JD-VCC и VCC имеется перемычка. Когда она установлена, модуль использует для питания напряжение, поданное на вывод VCC управляющего разъёма, а плата Arduino не имеет гальванической развязки с модулем. Если нужно обеспечить гальваническую развязку модуля и Arduino, необходимо подавать питание на модуль через разъём внешнего питания. Для этого убирается перемычка, и дополнительное питание подаётся на контакты JD-VCC и GND. При этом питание на вывод VCC управляющего разъёма также подаётся (от +5 В Arduino).
Кстати, реле может коммутировать не только слаботочную нагрузку, как в нашем примере. С помощью реле можно замыкать и размыкать достаточно большие нагрузки. Какие именно – нужно смотреть в техническом описании к конкретному реле. Например, данное реле SRD-05VDC-SL-C может коммутировать сети с током до 10 А и напряжением до 250 В переменного тока или до 30 В постоянного тока. То есть его можно использовать, например, для управления освещением квартиры.
Источник
Как подключить реле к Arduino
В статье описывается такое электронное устройство как реле, кратко объясняются принципы его работы, а также рассматривается подключение модуля с реле постоянного тока к Arduino на примере управления светодиодами.
Для подключения реле к Arduino нам понадобится:
- Ардуино UNO (или совместимая плата);
- модуль с реле (например, такой);
- 4 резистора по 220 Ом (рекомендую приобрести набор резисторов с номиналами от 10 Ом до 1 МОм);
- 4 светодиода (к примеру, вот из такого набора);
- макетная плата;
- соединительные провода (вот такие);
- персональный компьютер с Arduino IDE или иной средой разработки.
1 Принцип действияи виды реле
Реле – это электромеханическое устройство для замыкания и размыкания электрической цепи. В классическом варианте реле содержит электромагнит, который управляет размыканием или замыканием контактов. Если в нормальном положении контакты реле разомкнуты, а при подаче управляющего напряжения замыкаются, такое реле называется замыкающим. Если в нормальном состоянии контакты реле сомкнуты, а при подаче управляющего напряжения размыкаются, такой тип реле называется размыкающим.
Принцип действия замыкающего реле
Кроме того, существует множество других видов реле: переключающие, одноканальные, многоканальные, реле постоянного или переменного тока, и другие.
2 Схема подключения модуля реле SRD-05VDC-SL-C
Будем использовать модуль с двумя одинаковыми реле типа SRD-05VDC-SL-C или аналогичный.
Модуль имеет 4 разъёма: силовые разъёмы K1 и K2, управляющий разъём и разъём для подачи внешнего питания (с джампером).
Реле типа SRD-05VDC-SL-C имеет три контакта для подключения нагрузки: два крайних неподвижных, а средний – переключающийся. Именно средний контакт является своего рода «ключом», который коммутирует цепи тем или иным образом. На модуле есть подсказка, какой именно контакт реле является нормально замкнутым: маркировка «K1» и «K2» соединяет средний контакт с крайним левым (на фото). Подача управляющего напряжения на вход IN1 или IN2 (слаботочный управляющий разъём) заставит реле скоммутировать средний контакт контактной группы K1 или K2 с правым (силовой разъём). Ток, достаточный для переключения реле – около 20 мА, цифровые выводы Arduino могут выдавать до 40 мА.
Разъёмы модуля реле SRD-05VDC-SL-C
Разъём для подачи внешнего питания используется для того, чтобы обеспечить гальваническую развязку платы Arduino и модуля реле. По умолчанию, на разъёме между штырьками JD-VCC и VCC имеется перемычка. Когда она установлена, модуль использует для питания напряжение, поданное на вывод VCC управляющего разъёма, а плата Arduino не имеет гальванической развязки с модулем. Если нужно обеспечить гальваническую развязку модуля и Arduino, необходимо подавать питание на модуль через разъём внешнего питания. Для этого убирается перемычка, и дополнительное питание подаётся на контакты JD-VCC и GND. При этом питание на вывод VCC управляющего разъёма также подаётся (от +5 В Arduino).
Кстати, реле может коммутировать не только слаботочную нагрузку, как в нашем примере. С помощью реле можно замыкать и размыкать достаточно большие нагрузки. Какие именно – нужно смотреть в техническом описании к конкретному реле. Например, данное реле SRD-05VDC-SL-C может коммутировать сети с током до 10 А и напряжением до 250 В переменного тока или до 30 В постоянного тока. То есть его можно использовать, например, для управления освещением квартиры.
Источник

Вам также может понравиться
